Magnet-Kernbohrmaschine – Die vielseitige Kompaktklasse
PipeMAB 525
STARKER HALT AUCH AUF ROHREN UND IN RUNDUNGEN
Rohrbohr- und Gewindeschneidmaschine mit Rohr-Magnet Spannsystem.
- Hohe Magnethaltekraft bis max. 1020kg (20 mm Materialstärke /S 275 JR)
- Ideal zum Bohren & Gewindeschneiden auf gewölbten und flachen Oberflächen
- Patentierte Flachfeld-Magnettechnologie
- Permanentmagnet, unabhängig von Strom
- Geeignet für Rohre ab 85 mm
- Links-Rechtslauf Motor mit variabler Drehzahl- und Drehmomentsteuerung
- Magnethaltekraft von 410 kg ab einer Materialstärke von 3 mm
Die neuen PipeMAB Magnet-Kernbohreinheiten von BDS sind da! Das patentierte Rohr-Magnetspannsystem mit zwei Permanentmagneten passt sich automatisch dem Rohrdurchmesser an. Die schwenkbare Anordnung der Permanentmagnete erlaubt die Verwendung auf Rohren ab 85 mm Durchmesser, geraden Flächen sowie den Einsatz in runden Bauteilen. Beide Permanentmagnete lassen sich jeweils mit einer kurzen Drehung am Klemmhebel aktivieren. Die langen Aufstellflächen bieten dabei optimalen Halt und Sicherheit. Durch die Drehbewegung der Magnete wird die Bohreinheit automatisch in die mittige Bohrposition positioniert.
Das Ergebnis: Schnelles, exaktes und sicheres Arbeiten mit der BDS PipeMAB Serie.
Kernbohren
50 mm
Gewindeschneiden
M 20
Motorleistung
1600 Watt
Gewicht
19.5 Kg
|
Watt
|
1600 |
|
|
Volt
|
230 - 110/125 |
|
|
mm
|
40 |
|
|
mm
|
50 |
|
|
≤ Ø mm
|
20 |
|
|
≤ Ø mm
|
20 |
|
|
≤ Ø mm
|
50 |
|
|
≤ Ø mm
|
20 |
|
|
mm
|
160 |
|
|
mm
|
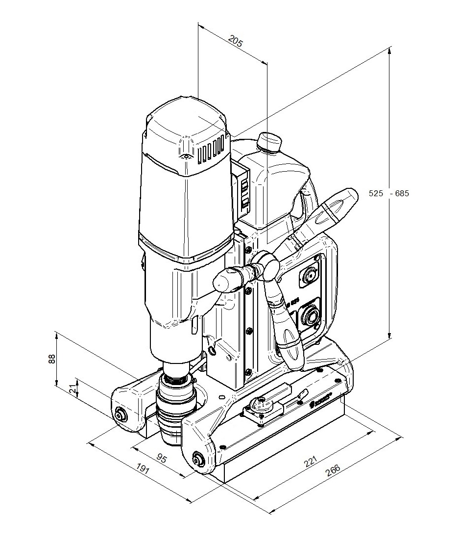
191 x 266 x 88 |
|
|
kg
|
19.5 |
|
MK 3 |
||
Industrieaufnahme 19 mm |
||
--- |
||
2 |
||
|
min-1
|
70 – 280 |
|
|
min-1
|
180 – 580 |
|
--- |
||
1 Industrieaufnahme ZIAL 319-KN
1 Auswerferstift , ZAK 100
1 Hartschalenkoffer
1 Sicherungsspanngurt
1 Austreiber MK 3
1 Bedienungsanleitung
1 Winkelschraubendreher SW 5
MAB 485 SB
Magnet-Kernbohrmaschine – Mit der Justiervorrichtung Swivel Base
MAB 525 SB
Robust und leicht zugleich – Mit der Swivel-Base-Justiervorrichtung
MAB 100 K
Kompakte Maschine. Wiegt nur 9,9 kg
MAB 455
Die leistungsstarke Montagemaschine
PipeMAB 200
Ø 35 mm Rohrbohrmaschine
PipeMAB 525
Ø 50 mm Rohrbohr- und Gewindeschneidmaschine
MAB 455 SB
Leistungsstark mit Drehvorrichtung
MABasic 200
Hohe Leistung – kleiner Preis
MAB 825 KTS
Magnetkernbohrmaschine mit Kreuztisch
MABasic 400
Der Schnellläufer – auch für Spiralbohrer geeignet
MABasic 450
Schneller, flexibler Werkzeugwechsel durch MK 2
MABasic 850
Kraft und Leistung pur!
MAB 825
Magnetbohrmaschine – Volle Leistung und Flexibilität
MAB 465
Der Allrounder Magnet-Kernbohrmaschine zum Super-Preis.
AutoMAB 350
Merkmale und Funktion der Steuerung sind bei beiden AutoMAB-Einheiten identisch!
AutoMAB 450
ø 45 mm Vollautomatisch Bohren
MAB 825 V / MAB 845 V
ø 60 mm Vollautomatisch / ø 100 mm Manuell Bohren.
MAB 1300 V
ø 60 mm Vollautomatisch / ø 130 mm Manuell Bohren
MAB 155PRO
Ideal für engste Bohrsituationen
AirMAB 5000PRO
Bohren mit Druckluftantrieb und Pneumatische Magnetbohrmaschine mit neuer PipeCLAMP
RailMAB 965
Schienen-Kernbohrmaschine mit Benzinmotor







Leistungsaufnahme
Spannung, V AC
Kernbohrer Schnitttiefe max.
Kernbohrer Ø max. HSS/HM
Spiralbohren
Reiben
Senken
Gewindeschneiden
Hub
Magnetabmessung
Gewicht
Spindelkonus
Werkzeugaufnahme Weldon
KEYLESS 19 mm Weldon 3/4“
Getriebestufen
Lastdrehzahl Stufe 1
Permanente Innenschmierung
Rutschkupplung
Drehmoment-Kontrolle
Vollwellen-Regelelektronik
Magnet-Indikator
Thermoschutz
Kohlebürsten-Verschleißanzeige



